网上营业厅
ONLINE BUSINESS HALL
关于盘中发布期权结算参考价的通知
各会员单位:
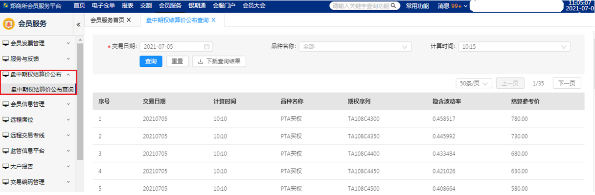
为便利市场投资者,郑州商品交易所定于11月8日起在官方网站和会员服务系统分时点发布盘中期权结算参考价,发布时点为每交易日10:15、11:30和14:30。
官方网站查看路径:

会员服务系统查看路径:

联系电话: 0371-65612631
特此通知。
郑州商品交易所
2021年11月 5日